想了解设备资料?报价?售后?请留言,速回电
厂家直销,留言立享本月优惠价免费提供环保政策、办厂手续、投资预算等资料
在振动筛的筛分过程中,粉尘的治理是一个比较重要的问题。在振动筛的结构中,粉尘收集装置的功能是降低筛子的粉尘量。但在其工作过程中,往往由于装置密封性能不良,影响除尘效果。针对这一问题,可采取哪些措施以提高粉尘收集装置呢?
由于振动筛工作时整个筛箱是振动的,其集尘罩内为负压,运行过程中滤布被筛箱内部负压所吸,导致出现如下问题:振动筛筛箱上部两边的滤布和4个振动箱吊耳相互摩擦;由于矿石进入料漏斗时落下并弹起,导致振动筛筛箱上的滤布和矿石摩擦。由此出现滤布磨损的问题,当漏风量达到一定量时,影响除尘效果。
(1).jpg)
1)将振动筛筛箱上部两边的4个振动箱吊耳割除,并打磨光滑。
2)振动筛筛箱上后部加一快废旧胶带,以挡住弹起的矿石,使矿石不直接磨损滤布。胶带长度以刚好盖住滤布为准,如果胶带太长,滤布和胶带中间易挤入矿石摩擦滤布。
3)振动筛筛箱下后部距下沿65 mm处加l500mm×150 mm×6 mm的挡板一块,筛箱下前部两边对称加一块挡板1(见图1),挡住下落的矿石,以使矿石不碰到密封滤布。
.jpg)

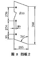
4)将振动筛筛箱前部上层出料斗拆除。因上、下层筛中矿石都进入同一漏斗到圆锥破碎机,两边各加一块挡板2(见图2),挡住弹起的矿石,使矿石不碰到密封滤布。
改进后滤布结构如图3。
.jpg)
粉尘收集装置经上述改进后,可使滤布不直接接触矿石,从而延长了滤布的使用寿命。经实际运行,改进后的粉尘收集装置具有良好的密封效果,除尘效果较好,达到了粉尘排放的标准和要求。
想了解设备资料?报价?售后?请留言,速回电
厂家直销,留言立享本月优惠价免费提供环保政策、办厂手续、投资预算等资料
3分钟前 高先生:时产200吨制砂机报个价,处理鹅卵石
8分钟前 李先生:移动式破碎机怎么解决粉尘问题?
13分钟前 徐女士:需要制砂机,南宁能看制砂现场吗?
16分钟前 程先生:破碎生产线出个方案及报价,有什么售后服务?
22分钟前 郑女士:想了解时产500吨锤破,加工石灰石
31分钟前 吴先生:成套石头破碎设备有吗?给个详细产品资料
36分钟前 罗先生:每小时100吨左右的鄂破和反击破,推荐下型号
42分钟前 梁先生:膨润土磨到200目,用什么磨粉设备?
提交留言我们会第一时间回复您!
某水泥厂矿渣烘干设备采用回转式烘干机,该机产量较低,尤其是随着后期矿渣掺加量的增加,该机更是显得力不从心,原设计的产量完全不能满足水泥磨生产。为提高烘干机产量,该水泥厂对影响产量的原因进行了深入分析,并采取了一系列改造措施,效果显著。
2016-01-16在球磨机设备中,传动装置是非常重要的组成部分,无论是质量、体积或成本因素,都对球磨机的正常工作有着很大的影响。在实际应用中,传动装置很容易受到各种因素的影响,进而失去效用,影响球磨机的正常使用。
2015-05-28振动筛是用于物料分离和分级的设备。随着煤炭企业的发展和科学技术的进步,该设备已经运用到了很多的领域。振动筛结构简单、工作效率高,成为主要的筛分设备,采煤过程中合理的运用振动筛,使其成为采煤工作不可缺少的一部分。
2015-01-23密封装置是烘干机不可缺少的重要组成部分,是衡量设备性能好坏的重要指标。烘干机密封装置的关键性作用主要表现在以下三个方面:如果进气端漏入过量冷空气,会降低热气温度,影响热工效率;如果出气端漏入大量冷空气,则有可能使废气降温到露点而结露,影响除尘设备的正常工作;同时,因操作中经常出现倒风现象,如果没有密封装置,会逸出大量粉尘,污染车间环境。
2014-08-04煤泥烘干机是由热源、打散装置、带式上料机、进料机、回转滚筒、带式出料机、引风机、卸料器、清扫装置和配电柜构成的新型专用干燥设备,是河南红星烘干湿物料的烘干设备系列产品之一。在煤泥烘干机的一系列装置中,清扫装置有什么重要作用呢?
2014-07-10O—Sepa选粉机在水泥生产中的应用非常广。在其使用过程中,选粉机撒料盘上的立筋易被磨损,撒料效果差,无法形成均匀的料幕,从而使细粉不能有效地选出,选粉机选粉效率较低。为此,可对选粉机进行改造。
2014-03-24